液壓鑿巖機原理
1.HDDP40型液壓沖擊鑿巖機原理
1.HDDP40型液壓沖擊鑿巖機原理
2.無級調節參數液壓鑿巖機工作原理
3.輕型液壓鑿巖機原理
4.新型液壓沖擊機械的工作原理與控制方案設計分析
5.重型液壓鑿巖機沖擊機構及其液壓驅動系統工作原理
6.HYD—200型液壓鑿巖機沖擊機構的工作原理
7.I-1型液壓鑿巖機工作原理
1. HDDP40型液壓沖擊鑿巖機(鉆機) 原理
液壓沖擊鉆機是一種機電液一體化的大型鑿巖鉆孔設備,主要應用于鐵路、公路、水電、礦山等領域,進行基礎施工、隧道開挖、勘探采石、采礦等作業。
本文主要介紹了沖擊鉆機的主要技術參數、結構、工作原理和液壓系統設計。
其工作原理與本次設計的液壓鑿巖機類似,介紹如下: 液壓沖擊鉆機的回轉、行走和工作裝置的動作都由液壓傳動系統實現,柴油發動機驅動液壓泵,把壓力油送到多路換向閥,通過司機的操作,將壓力油單獨或同時送往液壓執行元件液壓馬達和液壓油缸驅動執行機構工作。沖擊鉆機鉆孔工作原理如圖2所示,作業時推進油缸6帶動推進提升機構,實現鉆桿10推進與提升動作,鑿巖機通過鉆桿驅動沖擊鉆頭11沖擊、回轉鉆孔,同時空壓機馬達2驅動空壓機3工作,壓縮空氣將礦渣從鉆頭中央向外吹出。
2. 無級調節參數液壓鑿巖機工作原理
本篇文章主要一種新型液壓控制系統,通過自動換擋機構,以便實現無級調節,提高了液壓鑿巖機的高效性,并通過實驗進行了參數研究。其新型的液壓系統對本次設計用處很大,對此進行簡單的介紹: 要提高液壓系統的效率,要求液壓控制系統的推進、沖擊和回轉等子系統協調工作,使各系統的壓力、流量合理的匹配,達到最佳的控制效果。其工作原理如下:

這種新型液壓控制系統采用三個泵分別驅動沖擊、推進和回轉控制系統,特別是在系統中引進了高速開關閥壓力控制回路,高速開關閥是一種新型的電液數字控制閥,它可以直接由計算機產生的脈沖寬度調制信號實現壓力(流量)的比例控制。如圖3所示,高速開關閥14輸出的先導壓力分別控制沖擊泵3和遙控減壓閥8的輸出壓力,從而實現了液壓鑿巖機沖擊鑿巖時,推進控制系統隨沖擊壓力的變化而適時調節推進壓力的功能。根據液壓鑿巖機工作原理和工作參數調節特性,高速開關閥14的輸出壓力信號直接作用于沖擊泵3(恒壓變量泵)的調壓彈簧,根據其輸出壓力的變化來調節恒壓變量泵輸出壓力,從而實現液壓鑿巖機工作參數的無級調節和自動換擋的功能。當液壓鑿巖機正常工作時,回轉壓力低于先導閥10的調定壓力,液動換向閥11在彈簧力的作用下處于“下位’、如果發生卡釬時,則回轉壓力升高,當超過先導閥的調定壓力時,先導閥內有油液流動,使液動換向閥11左右兩端產生壓差,這種壓差作用在該閥閥芯上端,克服彈簧力使閥芯換向,處于“上位”。此時,推進壓力油進入推進油缸13有桿腔帶動鑿巖機退回。這種新型液壓控制系統還具有自動消除卡釬的能力。
3.輕型液壓鑿巖機原理
輕型獨立回轉鑿巖機替代傳統的氣動鑿巖機能明顯提高鑿巖作業效率、顯著降低耗能、減少噪聲污染和空氣污染,迅速提高我們鑿巖和工程施工的裝備技術水平。用高壓油作為動力推動活塞沖擊釬子,附有獨立回轉機構的一種鑿巖機械。
由閥控制(也有無閥的)活塞往復運動。由于油壓比氣壓力高得多,達10兆帕以上。雖與風動鑿巖機近似,但其活塞直徑較小、長度較大、波形較好。在活塞運動改變方向而產生高峰壓力時,機上裝有蓄能器。
其優點:鉆速快(比風動鑿巖機高兩倍以上),沖擊功高、扭矩大、頻率亦高;具有可調性、能耗低(為風動鑿巖機的1/3左右);效率高;便于自動化和電腦控使工作環境大為改善 本篇文章在綜合分析各類液壓鑿巖機沖擊工作原理和輕型液壓鑿巖機各種結構的基礎上,提出了輕型獨立回轉液壓鑿巖機的構型。其液壓系統的工作原理很符合畢業設計的要求,其原理如下: 該機主要由供油及配油系統、貯能系統、能量轉換系統、減振及支承系統,以及作業工具系統等部分組成。
沖擊循環過程可分為四個階段。
第一階段:由高壓油源來的液壓油進入柱塞的下端,推動柱塞向上運行。
第二階段:柱塞在上升過程中,將閥套向上推動,直到定點位置,于是高壓油經過閥套與柱塞之間的一個經過標定的進油口向腔供油,同時氮氣貯能器隔膜也向上壓縮氮氣進行貯能。 第三階段:當柱塞上端面受到的液體壓力超過下端的液體壓力時,力的不平衡使柱塞加速向下運動,同時貯能器提供快速運動所需的油量。在向下運動的過程中,柱塞將節流小孔打開,使閥套也下降。柱塞繼續向下運動,一直到與破碎工具相碰產生打擊為止。
第四階段:閥套在向下運動過程中, 切斷了向腔的供油,并使它與低壓回油路相通,這樣整個過程又回到初始位置。如此周而復始,使可自動進行連續打擊。


4. 新型液壓沖擊機械的工作原理與控制方案設計分析
液壓沖擊器系統壓力波動的幅值大、頻率高,同時又要求驅動它的液壓動力源(泵)具有良好的調節性能。普通的齒輪泵和葉片泵是難以滿足其工作要求的,軸向柱塞變量泵由于具有很好的動態調節特性因而適合液壓沖擊器系統的工作要求。根據其變量機構工作方式的不同,柱塞變量泵有手動(伺服)變量泵、恒壓變量泵、液控變量泵和電液比例變量泵幾種類型。本篇文獻主要介紹了新型液壓沖擊機械的工作原理與控制方案設計分析,其中包括理論分析、新型液壓沖擊器工作參數調節原理、新型液壓沖擊器系統結構原理及控制方案。
液壓沖擊機械的工作原理:液壓沖擊器實際上是一種采用前腔常壓方式 的液壓驅動閥控活塞系統,通過換向閥(配油閥)對活塞后腔壓力進行控制(交替通高壓和低壓油),從而實現活塞的沖程、回程往復運動。同時,活塞的運動反過來又控制換向閥(配油閥)的運動狀態,即閥芯的運動是通過活塞在缸體內位置反饋信號來控制的,從而實現了換向閥(配油閥)與活塞的互動控制。
5. 重型液壓鑿巖機沖擊機構及其液壓驅動系統研究
本篇文獻是一篇研究生畢業論文,主要介紹了重型液壓鑿巖機沖擊機械系統的波動力學分析、重型液壓鑿巖機沖擊機構工作參數的研究、重型液壓鑿巖機液壓驅動系統設計與仿真及實驗研究。其中本次畢業設計所采集的部分是沖擊機構的工作原理。 壓力反饋式液壓沖擊器的基本結構為:釬尾、活塞、機體!先導式配流閥、蓄能器,具體基本結構如圖3一1所示,下圖中A虛線框中是沖擊活塞部分,B虛線框中是配流閥部分。

從以上結構可以看出該機的結構特點為:
采用后腔常壓,前腔高、低壓交替回油。
通過調定先導閥的彈簧和節流孔大小或者全程控制的輸入壓力來調節 沖擊器的沖擊能大小。
設置了儲油腔,代替了回油蓄能器,減輕了整機的重量。
結構比傳統的液壓沖擊器簡單,工藝性好。 沖擊器的單次沖擊是由活塞的回程和沖程兩個階段來實現的,具體如下:
(l)回程(回程開始時刻,浩塞和閥芯的位置如圖3一Za) 換向閥芯的初始位置是在換向閥彈簧力作用下處于左位,此時高壓油時進入
活塞的前后腔。由于活塞前腔的有效作用面積大于后腔的有效作用面積活塞在前后腔壓力差的作用下向右運動,高壓蓄能器充油,系統壓力升高"當系統壓力大于先導閥的控制壓力時先導閥打開,高壓油經過換向閥中心阻尼孔和先導閥孔回了油箱"此時由于高壓油經過了換向閥芯的中心阻尼孔,使換向閥芯兩端產生了壓差,而換向閥兩端的有效作用面積相等,當壓力差產生的向右作用力大于彈簧力時,換向閥向右運動進行換向,沖擊器轉入了沖程階段。


活塞的前后腔。由于活塞前腔的有效作用面積大于后腔的有效作用面積活塞在前后腔壓力差的作用下向右運動,高壓蓄能器充油,系統壓力升高"當系統壓力大于先導閥的控制壓力時先導閥打開,高壓油經過換向閥中心阻尼孔和先導閥孔回了油箱"此時由于高壓油經過了換向閥芯的中心阻尼孔,使換向閥芯兩端產生了壓差,而換向閥兩端的有效作用面積相等,當壓力差產生的向右作用力大于彈簧力時,換向閥向右運動進行換向,沖擊器轉入了沖程階段。
(2)沖程(回程開始時刻,活塞和閥芯的位置如圖3一Zb) 換向閥處于右位后,活塞前腔與油箱連通,活塞在后腔高壓油和高壓蓄能器 的作用下,活塞向左加速運動進行沖程,前腔壓力油通過機體內通道流入儲油腔,一部分流入油箱"沖程加速后階段,系統壓力降低,高壓蓄能器拍出大量的油補充到活塞后腔,先導閥關閉"在換向閥彈簧力的作用下,閥芯向左運動復位,與此同時活塞沖沖擊釬尾,沖程階段結束沖擊系統又處于回程開始階段就這樣擊系統進行著連續沖擊動作,進行鑿巖工作。
6.液壓鑿巖鉆車工作原理
主要介紹了液壓鑿巖鉆車的應用領域、液壓系統執行元件的設計計算及確定、液壓系統動力源的設計計算及確定、液壓系統設計及液壓控制閥的選取及液壓系統的驗算。
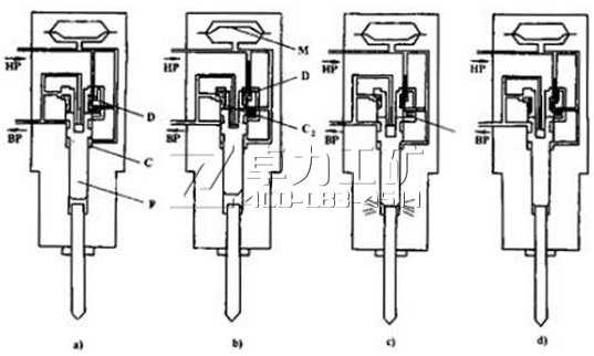
HYD—200型液壓鑿巖機是一種新型高效的鑿巖設備,液壓鑿巖機采用循環的高壓油作動力,能量利用率高、機械性能好、鑿巖速度高,性能參數可調,以適應不同的巖石,減少故障,消除了污染,凈化工作環境,噪聲低改造了工作條件。自動化程度高,減輕工人勞動強度、潤滑條件好,零件壽命高。
沖擊機構的工作原理

沖擊機構由活塞1,與其配合的缸體2,和起換向作用的配油閥3,后缸蓋4,蓄能器5等組成。
HYD-200液壓鑿巖機是沖擊回轉式的。沖擊和回轉分別由兩條液壓油路分別驅動。
其沖擊部分的工作原理是:沖擊部分采用活塞前腔恒高壓式,活塞后腔回油有配油閥的結構,由于活塞前腔為恒高壓,所以推動活塞進入回程。當活塞回程運動信號液壓油到配油閥的推閥腔,推動配油閥交變切換位置,使高壓油進入活塞后腔,吸收活塞回程的運動能量。當活塞繼續運動到回程速度等于零的位置,由于活塞后腔高壓油形成的軸向推力大于活塞前腔恒高壓條件下的面積差的軸向力,活塞開始向前運動進入沖程,當活塞快要打擊釬尾之前,活塞上的泄壓槽把低壓回油路與配油閥孔道接通,使得配油閥的推閥腔很快失壓,于是配油閥交變復位,切斷了向活塞后腔供油,同時把低壓回油路與活塞后腔溝通,使活塞后腔失壓,由于這時的活塞沖程能量最大,雖然活塞前腔恒高壓開始吸收沖擊能量,但活塞仍然靠慣性向前高速運動,很快打擊釬尾,此后又開始進入回程進行下一個工作循環,不斷的對釬尾進行沖擊。
沖擊動作大致可分為四個階段,即回程——回程換向——沖擊——沖擊換向。這四個階段是由配油閥的供油狀態決定的。蓄能器從回程開始積蓄能量回程轉換結束蓄能完畢;從沖擊轉換開始釋放能量,沖擊完畢,釋放能量結束。
7.套閥式液壓鑿巖機設計研究 本篇文獻主要介紹了套閥式液壓鑿巖機的研究現狀、工作原理、沖擊結構的參數計算以及活塞尺寸的確定。
液壓鑿巖機的研究現狀 隨著計算機技術和機電一體化技術的發展,進一步提高液壓鑿巖機的鑿巖效率, 完善自動鑿巖技術,加強勞動保護,成為目前國內外相關研究 機構的研究熱點。 具體包括以下幾個方面:
(1) 關于沖擊機構的計算機模擬與結構優化的研究;
(2) 關于釬尾反彈能量吸收裝置及防空打裝置的研究;
(3) 關于液壓沖擊器輸出參數調節的研究;
(4) 關于勞動保護的研究。
主要參考本文獻工作原理部分:沖擊機構主要是由套閥、活塞、配流閥和 蓄能器組成的運動系統,其位置關系以及工作原理如圖 1。
I-1型液壓鑿巖機工作原理

:活塞前腔(F1面)和套閥前腔(F2面)常通高壓油。
活塞回程運動中 F1面越過推閥孔 P1反饋壓油至閥 F3面,閥后腔面積大于前腔,推閥至前位,活塞后腔由回油變為進油。由于活塞后腔受壓面積大于前腔, 活塞制動并進入沖程。 沖程接近終點時,活塞上環槽聯通推閥孔P2、P3,閥F3面回油,閥自前位向后位運動,使活塞后腔回油。由于活塞與閥的協調運動,在處理好沖程與回程能量分配關系后可形成連續有效的沖擊運動。
本次設計液壓鑿巖機的創新研究
鑿巖機釬尾導向套的加工 釬尾導向套安裝在鑿巖機的最前端, 對釬尾起導向作用,要求硬度高,耐磨性好,密封效果好,防止水和石渣進入鑿巖機內。 該鑿巖機釬尾導向套為銅合金套,對材質及加工精度的要求較高,它的磨損將嚴重影響釬尾的導向性, 導致鑿巖機其他零件的嚴重磨損,并可能引發水封損壞,鑿巖機漏水,也會導致外界雜質進入鑿巖機內。由于對釬尾導向套性能的認識不足, 在剛開始時選用普通的銅合金材料來加工, 其配合間隙也不合理,耐磨性也差,密封效果不好,修復效果很差。 后來,經過對原配件材料進行分析,并選取比原來稍大的配合間隙, 經使用, 基本能達到要求,而成本僅為原配件的 1/6。
鑿巖機回油蓄能器的改進 該鑿巖機回油蓄能器主要由閥體 (厚約3mm)、閥芯和隔膜等組成 ,隔膜安裝在閥體和閥芯之間。
其工作原理是:
液壓油通過回油蓄能器回油箱時, 擠壓隔膜和閥體之間的空氣來緩沖液壓系統回油產生的瞬間高壓, 可有效地防止液壓軟管的破裂。在使用過程中, 我們發現回油蓄能器的主要故障是隔膜破裂,其裂紋呈弧形,沿閥體上孔(下徑 1cm) 的方向。 該孔是用來檢查隔膜是否損壞的,在班保養時,拆下螺釘,若有油漏出,可判定隔膜損壞。
經分析,導致隔膜破裂的原因是:液壓油通過隔膜內側,將隔膜擠壓緊貼閥體上孔或螺釘時,被螺釘頂破或直接被孔內側割破。
為此,我們對其做了以下改進:將閥體上孔的直徑 1cm 改為 1.5-2mm,不再使用螺釘。這樣有效 地避免了螺釘或孔口對隔膜的損壞。
實踐證明,在班保養時, 若發現有液壓油滲出, 可判定隔膜損壞,不需要拆卸螺釘,可直接判斷,使用較方便。
經上述改進后,其使用壽命延長 2-3 倍,效果良好。


